Category
MikroTik EC25-EU&KNe, KNOT Embedded LTE4
Your price incl. VAT (20.0%)
67.88 EUR
✅ In Stock 50+ Бр.
Planned Delivery Date by Courier to you 07-01-2026Product description
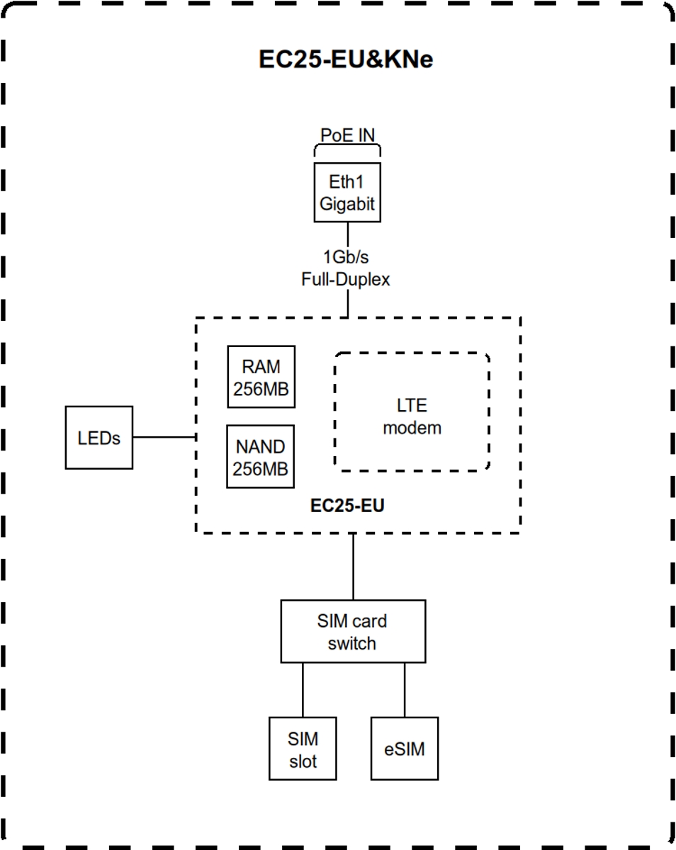
The MikroTik KNOT Embedded LTE4 is a flexible industrial IoT gateway for asset tracking, remote monitoring, and efficient automation (GPIO) featuring eSIM support, LTE Cat. 4, Bluetooth and GNSS. It is equipped with (1) 1Gbit PoE-In port.
Key features
- (1) 1Gbit 802.3af/at PoE-In port and (3) SMA female connectors for external antennas
- GPIO pins (digital/analog input / OD output)
- Support for eSIM, nano SIM and 2G/3G/4G LTE
- GNSS (BeiDou, Galileo, GPS, Glonass)
- Bluetooth beacon tracking
- Flexible power options via USB-C (power only) or PoE
Package contents
- Device
- Power adapter 5V/0.8A
- Screws and wall plugs
- DIN rail mounting kit
Download
Technical parameters
LAN ports
Power over Ethernet
802.3af, 802.3at, 12 .. 57V DC
Design
DIN rail
Wireless frequency
LTE, Bluetooth, GNSS, 2G (GSM), 3G (GSM)
Type of antenna
Detachable
Detachable antennas
3
RF connectors
(3) SMA female
Power type
PoE, USB (5V)
4G/LTE bands support
(1) 2100 MHz, (3) 1800 MHz, (7) 2600 MHz, (8) 900 MHz, (20) 800 MHz, (38) 2600 MHz, (40) 2300 MHz, (41) 2500 MHz, (28) 700 MHz
Operating system
RouterOS v7 - L3
Fans
No
LAN ports
1
LAN speed
(1) 10/100/1000Mbps
Gigabit LAN
Yes
PoE type
PoE-In (only)
Max. power consumption [W]
7
Power via connector/terminal
5V / 0,8A
Operating temperature [°C]
-40 up to 70
Width [mm]
70
Height [mm]
22
Depth [mm]
90
CPU
ARM Cortex A7
CPU frequency [MHz]
1200
CPU cores
1
SIM slot
Yes
SIM slots quantity
1
USB
Yes
Internal storage [MB]
512
RAM [MB]
256
GPS modul
Yes







































































































































